BIST 10.979
DOLAR 42,52
EURO 49,56
ALTIN 5.775,83
HABER /  BİLİM - TEKNOLOJİ

Apple katlanabilir telefonu için ilk adımı attı

Rakiplerine oranla katlanabilir ekranlı modeli hakkında aceleci davranmayan Apple, ilk patentini aldı.

Abone ol

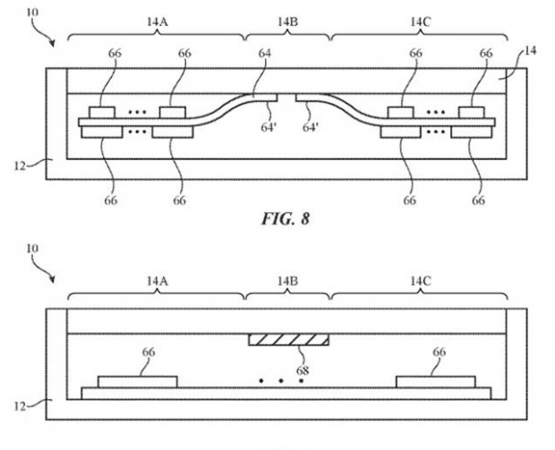
Geçtiğimiz günlerde Huawei ve Samsung'un katlanabilir telefonlarını tanıtmaları, gözleri Apple şirketine çevirdi. Soğuk havaların OLED ekranları kırılgan hale getirebileceğini düşünen Apple, katlanabilir telefonu için ilk patentini bu yönde aldı.

Apple'ın, katlanabilir iPhone modelinin ekranını, olası bir kırılmaya karşı koruyabilecek bir dizi sensör ve mikro ısıtıcı üzerinde çalışmalar yaptığı ortaya çıktı.

Apple katlanabilir telefonu için ilk adımı attı - Resim: 0Patent, ekranın belirli bir alanındaki pikselleri aydınlatmaya veya bir ısıtma sisteminin eklenmesine dayanıyor ve Apple bu çözümle, soğuk havalarda cihazın açılıp kapanmasını daha kolay bir hale getireceğini düşünüyor.