BIST 11.007
DOLAR 42,53
EURO 49,56
ALTIN 5.746,23

Google'dan uçan arabalara yatırım!

Google'dan uçan arabalara yatırım!

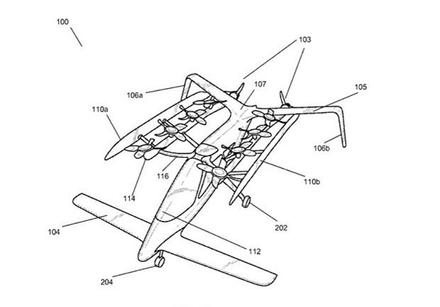
Google'ın kurucularından Larry Page, uçan araba geliştiren iki şirkete hatırı sayılır bir yatırım yaptı.

Google'dan uçan arabalara yatırım! - Resim: 1

Google'ın kurucularından Larry Page, uçan araba geliştiren iki şirkete hatırı sayılır bir yatırım yaptı.

Google'dan uçan arabalara yatırım! - Resim: 2

Bloomberg Businessweek'in şirkete yakın kaynaklara dayandırdığı haberine göre, milyarder işadamı 2 şirkete 100 milyon dolar (290 milyon TL) yatırım yaptı.

Google'dan uçan arabalara yatırım! - Resim: 3

ABD, Kaliforniya merkezli Zee.Aero ve Kitty Hawk isimli iki şirket de elektrikli motora sahip, dikey iniş, kalkış yapabilecek araçlar üzerine çalışmalar yapıyor.

Google'dan uçan arabalara yatırım! - Resim: 4

Konuyla ilgili henüz bir resmi açıklama bulunmuyor. Milyarder işadamının bu yatırımın ardından şirketlerdeki ortaklık düzeyine dair bir bilgi de bulunmuyor.